Shimano chystá 13 rychlostní sadu a nový systém patky - odpověď na SRAM T-Type?
08/11/2025
Uvolněte prostor pro 13 rychlostní pohony! Zdá se, že
japonský gigant Shimano se chystá rozšířit rozsah převodů a zároveň připravuje
zcela nový systém patky přehazovačky, který by mohl být odpovědí na dominanci
systému konkurenční značky Sram - T-Type. Probíhá další klíčový boj o standardy
v cyklistickém světě? Shimano zjevně nechce zůstat pozadu.
Hned na úvod musím zdůraznit, že následující informace
zatím nejsou oficiálním prohlášením společnosti Shimano. Hlavním zdrojem je
respektovaný portál PINKBIKE, který objevil nový patentový nákres. Vzhledem k
důvěryhodnosti tohoto zdroje však považujeme tato zjištění za vysoce
relevantní.
Zdá se, že Shimano připravuje přímou odpověď na „bezpatkový“ systém T-Type, kterým Sram v podstatě ovládl trh. Shimano je však historicky známé jako konzervativnější hráč - často naskočí na trendy později, ale s o to propracovanějším řešením. Tento patent ukazuje, že Shimano nemá v plánu kopírovat SRAM, ale opět hledá vlastní a unikátní cestu, kterou zaujme své příznivce.
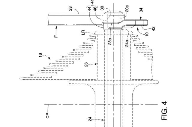
Nový design patky přehazovačky - dvě "vidlice"
Shimano podalo přihlášku na patent číslo 18/653358, který ukazuje zcela nový přístup k uchycení přehazovačky. Portál OFF.ROAD.CC to dokonce popisuje jako „útok na systém Sram, který vypadá jako Sram, ale obrácený vzhůru nohama.“Celý článek portálu OFF.ROAD.CC najdete na TOMTO odkazu.

Klíčovým prvkem je inovativní „dvojvidlicový“ design. Zatímco konkurenční Sram přišel s variantou, kde se patka montuje přímo k rámu, Pinkbike upřesňuje, že řešení od Shimana by v budoucnu mohlo fungovat jinak: dvě ramena této nové patky obepínají přímo tělo samotné přehazovačky, nikoliv rám.
Zdá se, že celý systém je navržen tak, aby byl kompatibilní s montážním otvorem v rámu ve stylu UDH, avšak patka se montuje z vnitřní strany rámu a je uchycena šroubem, do kterého se následně závituje pevná osa kola.
Hlavní zpráva: 13 rychlostní kazeta
Nejvýznamnějším odhalením je fakt, že patentové nákresy konzistentně zobrazují použití 13 rychlostní kazety. Portál off.road.cc si navíc všímá, že nákresy naznačují elektronické řazení (Di2), jelikož je v těle přehazovačky viditelná motorová jednotka.To však otevírá další technickou otázku: bude 13 rychlostí vyžadovat nový standard ořechu? Přidání 13. pastorku je výzvou pro současný Micro Spline, který je už tak na hraně. Je tedy pravděpodobné, že Shimano bude muset představit i nový standard ořechu, což by ovlivnilo zpětnou kompatibilitu kol a nábojů.

Cílovka: gravel a silnice, nikoliv MTB
Zajímavou spekulací, se kterou přišel Pinkbike, je cílový segment tohoto systému. Zobrazená přehazovačka má totiž spíše „silniční“ vzhled. To vede k domněnce, že tento 13 rychlostní systém nemusí být primárně určen pro horská kola, ale spíše pro gravel nebo silnici.Podobnou cestou jako Sram by se tedy mohlo vydat i Shimano - vyvinutím 13 rychlostní sady právě primárně pro gravelová kola.
13 rychlostní alternativa od Sram-uTuhost a ochrana
Pinkbike spekuluje, že smyslem tohoto nového robustního designu by mohlo být dosažení extrémní tuhosti, která je nezbytná pro přesné řazení při 13 rychlostech. Zároveň by tuhost tohoto systému mohla být výrazně vyšší než při používání klasické patky u současných přehazovaček Shimano.Paradoxně to však může znamenat odklon od tradiční a osvědčené filozofie této značky, která se historicky spoléhala právě na klasickou patku, jež se při pádu ohnula nebo zlomila, aby ochránila dražší rám a přehazovačku. Ostatně to vidíme i u nejnovějších elektronických MTB sad od Shimana, kde patka zůstává zachována.

Patent ještě neznamená produkt
Zatím je ale důležité krotit nadšení. Firmy jako Shimano si každoročně patentují desítky nápadů, aby si chránily duševní vlastnictví. Patent nezaručuje, že se produkt někdy dostane do sériové výroby, a často trvá roky, než se z nákresu stane realita.Tento patent je však jasným důkazem, nad čím inženýři v Japonsku intenzivně přemýšlejí a že „válka“ pohonů zdaleka nekončí.
Aktuální ponuka Shimano:
Zdroje obrázků a všech info:
Celý článek na PINKBIKE dostupný